Фильтр магнитный сетчатый 008ФМС-12М
Оставить отзыв
Есть в наличии
Безопасность и конфиденциальность
✓ Сертифицированное оборудование
✓ Гарантия надежной эксплуатации
Гарантия доставки
✓ Контроль качества на каждом этапе
✓ Современное оборудование
✓ Быстрая отгрузка
Технические характеристики:
Условный проход, мм.: 10
Номинальное давление, МПа: 6,3
Номинальный расход, л/мин: 16
Тонкость фильтрации, мкм: 80
Масса , кг.: 5

Магнитно-сетчатые фильтры серий ФМС-1М и ФМС-2М применяются в гидросистемах станков и промышленного оборудования для тонкой очистки минеральных масел. Устройства эффективно удаляют как обычные механические примеси, так и ферромагнитные (металлические) частицы.
Условия эксплуатации:
- Рабочее давление: номинальное значение — 6,3 кгс/см².
- Свойства рабочей среды: очистка масел с кинематической вязкостью до 500 сСт.
- Температурный режим:
- Масло: от +10 до +60 °C.
- Окружающая среда: от +10 до +55 °С.
Технические характеристики
Ниже представлены базовые параметры фильтров. Данные актуальны при использовании минерального масла с вязкостью 70–80 сСт и температурой в диапазоне +25…+30 °С.
Конструкция и принцип действия
Магнитно-сетчатые фильтры выпускаются в двух исполнениях:
- ФМС-1М: модель с резьбовым креплением для установки на трубопроводы.
- ФМС-2М: встраиваемая модель, монтируемая непосредственно в посадочные гнезда механизмов (отличается конструкцией крышки и отсутствием внешних стаканов).
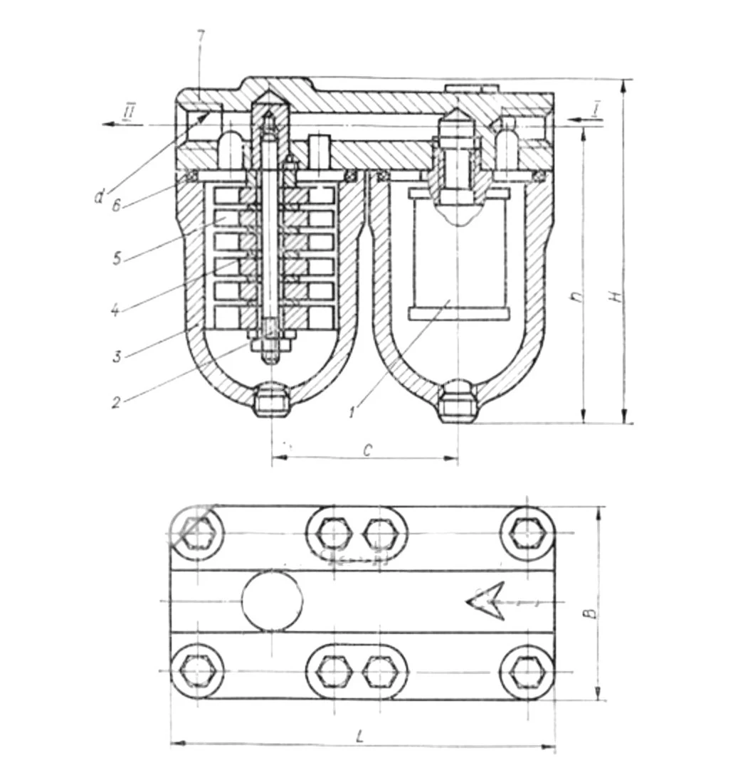
Состав фильтра ФМС-1М
Основой устройства служит крышка, к которой болтами присоединены два стакана. Герметичность соединений обеспечивается резиновыми уплотнительными кольцами.
- Сетчатый блок: в первом стакане на резьбе закреплен сетчатый фильтроэлемент.
- Магнитный блок (уловитель): во втором стакане размещена ось с набором плоских магнитов, разделенных дистанционными шайбами.
Процесс очистки
Масло проходит двухступенчатую систему фильтрации:
- Грубая очистка: Поток поступает в первый стакан, где сетка задерживает механические примеси.
- Тонкая магнитная очистка: Пройдя через каналы в крышке, масло попадает во второй стакан. Здесь магниты улавливают ферромагнитные частицы.
- Эффект «магнитной щетки»: Осевшие на магнитах частицы образуют ворсистый слой, который начинает работать как дополнительный фильтр, улавливая даже немагнитные мелкие фракции, прошедшие через первую сетку.
Монтаж и эксплуатация
Правила установки
- Доступность: Выбирайте место, обеспечивающее свободный демонтаж и осмотр устройства.
- Защита: Избегайте зон с интенсивной вибрацией и вероятностью механических ударов.
- Направление потока: При монтаже следите, чтобы стрелка на корпусе (крышке) строго соответствовала направлению движения масла в системе.
Регламент обслуживания
Очистку фильтра от накопленных загрязнений (шлама) необходимо проводить каждые 50–100 часов работы.
Порядок очистки:
- Ослабить крепежные болты и демонтировать стаканы.
- Извлечь сетчатый элемент и ось с магнитным блоком.
- Тщательно промыть детали в керосине.
- Просушить компоненты, продув их очищенным сжатым воздухом.