фильтр заливной Г42-12Ф
✓ Сертифицированное оборудование
✓ Гарантия надежной эксплуатации
✓ Контроль качества на каждом этапе
✓ Современное оборудование
✓ Быстрая отгрузка
Технические характеристики:
- номинальная тонкость фильтрации: 125 мкм;
- номинальная тонкость очистки воздушного фильтра: 40 мкм;
- номинальный расход при перепаде давлений 0,001 МПа
• для масла не менее 20 л/мин;
• для воздуха не менее 0,4 дм³/с;
- номинальный перепад давлений не более 0,001 МПа (для масла и воздуха);
- масса не более 0,49 кг.
![]() |
|
|---|---|
Фильтр заливной Г42-12Ф предназначен для очистки масла, заливаемого в рабочую ёмкость смазочной системы (например станции смазки С48-11М, С48-12М, С48-13М, С48-14М) от посторонних включений, а также для фильтрации частиц пыли из воздуха, находящегося над уровнем рабочей жидкости внутри пространства.
Заливной фильтр Г42-12Ф очищает масла с вязкостью до 150 сСт и при температурном диапазоне от +10 до +70 °С.
Климатическое исполнение и место установки по ГОСТ 15150:
- для умеренного и холодного климата УХЛ 4;
- для тропического климата О4.1.
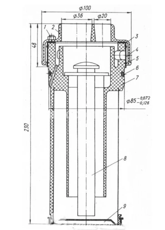
Фильтр Г42-12Ф монтируется вертикально на крышке маслобака и состоит из корпуса с встроенной сеточкой для фильтрации масла, а также пластмассовой крышки с горловиной для заливки рабочей жидкости. Внутри фильтра установлен магнитный патрон, служащий для задержания ферромагнитных частиц, находящихся в заливаемом масле.
Конструкция фильтра Г42-12Ф: пластиковый корпус 3 с встроенной сеточкой 1, крышка корпуса 5, закрепляющаяся на корпусе шпильками (на схеме слева они не изображены),прокладки 8, фильтровальное полотно 9, сапун и магнитный сепаратор 2. Отверстие 6 в крышке корпуса заливного фильтра Г42-12Ф предназначено для заливки рабочей жидкости и при работе гидропривода закрывается пробкой; через сливное отверстие 7 проходит шланг сливной линии, поэтому фильтр также функционирует и как сливной. Фильтр заливной Г42-12Ф устанавливается в специальное отверстие крышки маслобака, причем уплотнение посадочного места обеспечивается резиновой прокладкой (кольцом 4).
Пример условного обозначения заливного фильтра Г42-12Ф с параметрами: тонкость фильтрации не грубее 125 мкм, тонкость очистки воздушного фильтра 40 мкм, потребляемый расход масла 20 л/мин, для умеренного и холодного климата, категория размещения 4:
- Г42-12Ф УХЛ4 ТУ2-053-1294-77.
Для районов с тропическим климатом обозначение будет:
- Г42-12Ф О4.1 ТУ2-053-1294-77.
