Гидроклапан обратный Г51-35 (GA-10)
Оставить отзыв
Есть в наличии
Безопасность и конфиденциальность
✓ Сертифицированное оборудование
✓ Гарантия надежной эксплуатации
Гарантия доставки
✓ Контроль качества на каждом этапе
✓ Современное оборудование
✓ Быстрая отгрузка
Основные параметры клапанов обратных Г51-3
| Наименование | Условный проход, мм | Присоединение | Номинальное давление на входе, МПа | Номинальный расход жидкости, л/мин | Масса, кг |
| г 51-31 | 8 | К1/4" | 20 | 16 | 1,2 |
| г 51-32 | 10 | К3/8" | 20 | 32 | 1,2 |
| г 51-33 | 16 | К1/2" | 20 | 63 | 1,6 |
| г 51-34 | 20 | К3/4" | 20 | 125 | 1,6 |
| г 51-35 | 32 | К1 1/4" | 20 | 250 | 5,45 |
| г 51-36 | 40 | фланцевое | 20 | 500 | 14 |
| г 51-37 | 50 | фланцевое | 20 | 800 | 33 |
г 51-35, г 51-34, г 51-33, г 51-32, г 51-31
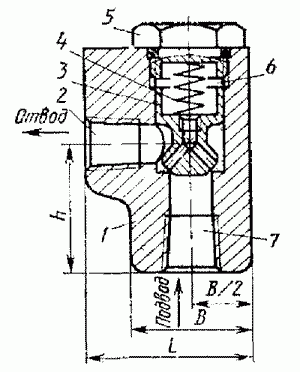
Конструкция клапанов обратных Г51-3
Клапаны типов Г51-3 и ПГ51-2 состоят из корпуса 1, к коническому седлу которого пробкой 5 через пружину 4 прижат плунжер 3. Масло, подводимое в отверстие 7, приподнимает плунжер и проходит в отводное отверстие 2. При изменении направления течения давление масла в отверстии 2 (и полости 6) вместе с пружиной 4 плотно прижимает плунжер к седлу, исключая возможность обратного потока.
Гидроклапан г 51-37, г 51-36, клапан г 51-35, г 51-34, г 51-33, г 51-32, г 51-31
