Гидроклапан предохранительный КПШ-15
✓ Сертифицированное оборудование
✓ Гарантия надежной эксплуатации
✓ Контроль качества на каждом этапе
✓ Современное оборудование
✓ Быстрая отгрузка
Основные параметры клапана:
Диаметр условного прохода - 15 мм
Давление нагнетания ном. 0,1-0,8 МПа
Расход рабочей жидкости ном. - 25 л
Тип монтажа : резьбовой

Предохранительные клапаны служат для поддержания стабильного давления в системах циркуляции смазки металлургического оборудования и защищают масла от перегрузок. Они рассчитаны на использование с минеральными маслами, такими как «Прокатное П-28» по ГОСТ 6480 и «Авиационное МС-20» по ГОСТ 21743, при температуре от +10 до +60 градусов Цельсия. Также допускается эксплуатация на других минеральных маслах с аналогичными характеристиками и кинематической вязкостью в диапазоне от 25 до 750 мм²/с. Например, предохранительный клапан с условным проходом Ду = 20 мм, выполненный в климатическом исполнении У и по категории размещения 3, обозначается как клапан КПШ-20 У3.
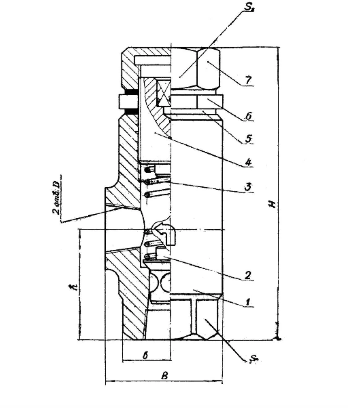
Краткое описание конструкции и работы изделия
Предохранительный клапан типа КПШ (см. рис. 1) состоит из таких элементов: корпуса 1, стакана 2, пружины 3, регулировочного винта 4, прокладок 5, контргайки 6 и колпачка 7. Он включает в себя корпус 1 с отверстиями для подвода и отвода рабочей жидкости, конический запорный стакан 2, который открывает сливную щель при перегрузке, и пружину 3, выполняющую функцию регулятора давления. Под давлением рабочей жидкости стакан 2 открывается, создавая сливную щель, когда давление в системе превышает установленное значение, на которое настроена пружина 3. Настройка давления осуществляется с помощью регулировочного винта 4, который фиксируется контргайкой 6. Для обеспечения герметичности сливной полости на регулировочный винт 4 надевается колпачок 7, а между корпусом 1, контргайкой 6 и колпачком 7 находятся прокладки 5.