Гидрораспределитель 54ПГ74-34
✓ Сертифицированное оборудование
✓ Гарантия надежной эксплуатации
✓ Контроль качества на каждом этапе
✓ Современное оборудование
✓ Быстрая отгрузка
Основные технические данные
Условный проход : 20мм
Рабочее давление: 20МПа
Пропускная способность: 80 л.
Тип монтажа: модульный (стыковой, плиточный)
Масса : не более 11 кг
Схема распределения потока рабочей жидкости:


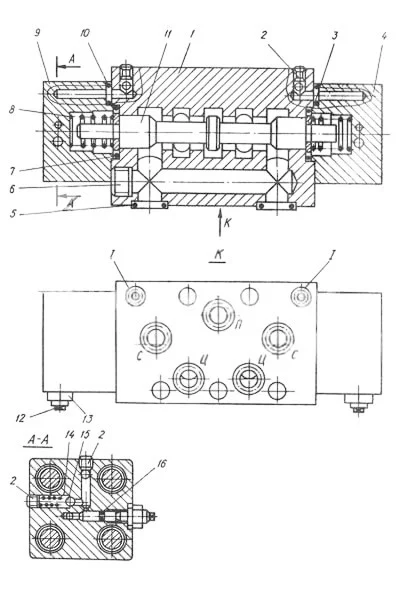
Гидрораспределитель 54ПГ 74-34-В относится к категории простых регулирующих устройств золотникового типа. Он специально разработан для применения в гидравлических системах, совместимых с различными механизмами, такими как средние металлообрабатывающие и общемашиностроительные станки, штамповочные и прессовые машины, а также в мобильных машинах как простой, так и сложной конструкции, включая дорожную, строительную и коммунальную технику, а также другие аналогичные устройства.
Конструкция распределителя 54ПГ 74-34-В отличается своей простотой. В его центральном блоке предусмотрены каналы для протекания рабочей жидкости, которой, как правило, является минеральное масло. Управление открытием и закрытием питательных и отводящих каналов осуществляется с помощью центрового золотника, который, перемещаясь, либо разрешает, либо запрещает проход жидкости. Перемещение золотника происходит за счёт гидравлического воздействия — потока рабочей жидкости низкого давления, поступающего с одной из двух возможных сторон распределителя.
Возврат золотника в начальное положение обеспечивается за счёт гидравлического давления с условно обратной стороны.
К важным характеристикам распределителя 54ПГ 74-34-В можно отнести его очень небольшой вес и компактные размеры, что делает его идеальным для установки в системах малых агрегатов, как стационарных, так и подвижных, обладающих собственной ходовой частью.