Магнитный сепаратор Х43-44-2
Оставить отзыв
Есть в наличии
Безопасность и конфиденциальность
✓ Сертифицированное оборудование
✓ Гарантия надежной эксплуатации
Гарантия доставки
✓ Контроль качества на каждом этапе
✓ Современное оборудование
✓ Быстрая отгрузка
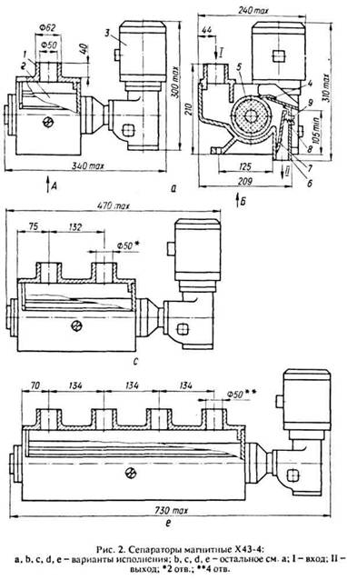
Технические характеристики сепараторов магнитных Х43-43, Х43-44, Х43-45, Х43-46, Х43-47
| Исполнение | Х43-43 | Х43-44 | Х43-45 | Х43-46 | Х43-47 |
| Номинальный расход, л/мин. | 50 | 100 | 200 | 400 | 630 |
| Масса, кг | 20 | 25 | 40 | 120 | 180 |
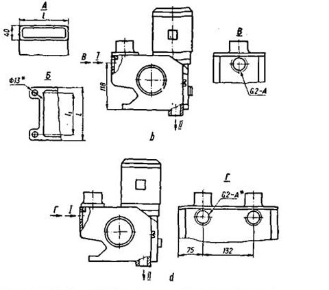
Устройство и работа
Сепараторы изготавливаются двух исполнений: с левым расположением привода; с правым расположением привода. Сепаратор состоит из мотор-редуктора, корпуса с вмонтированным в него барабаном, скребка, съемной крышки, заслонки, регулирующей уровень СОЖ в корпусе сепаратора с помощью пружины, и пробки.
| Обозначение | Размер, мм | Часть рисунка |
| X43-43-1 | L: 155, L1: 125 | a |
| X43-43-1-1 | L: 155, L1: 125 | b |
| X43-44-1 | L: 285, L1: 250 | c |
| X43-44-1-1 | L: 285, L1: 250 | d |
| X43-45-1 | L: 545, L1: 515 | e |
*Магнитные сепараторы левого исполнения имеют аналогичные размеры.

