Пневмораспределитель ПВ64-25М
✓ Сертифицированное оборудование
✓ Гарантия надежной эксплуатации
✓ Контроль качества на каждом этапе
✓ Современное оборудование
✓ Быстрая отгрузка
Технические характеристики:
Условный проход, мм: 20
Номинальное давление, МПа: 0,63
Тип монтажа: стыковое
Масса , кг.: 7,1

Пневмораспределители БВ64-13М, БВ64-14М, БВ64-15М с резьбовым присоединением к пневмолиниям представляют собой четырехлинейные двухпозиционные устройства с двусторонним электромагнитным управлением и пневматическим возвратом, предназначенные для изменения потоков сжатого воздуха в пневматических приводах общего и специального назначения.
Пневмораспределители В64-23М, В64-24М, В64-25М с резьбовым присоединением к пневмолиниям являются четырехлинейными двухпозиционными устройствами с односторонним электромагнитным управлением и пневматическим возвратом, и выполняют функцию регулирования потоков сжатого воздуха в пневматических приводах общего и специального назначения.
Пневмораспределители В63-13М, В63-14М с резьбовым присоединением к пневмолиниям — четырехлинейные двухпозиционные устройства с односторонним и двусторонним пневмоуправлением и пневматическим возвратом, предназначенные для изменения потоков сжатого воздуха в пневматических приводах общего и специального назначения.
Пневмораспределители ПВ64-23М, ПВ64-24М, ПВ64-25М, ПВ64-13М, ПВ64-14М, ПВ64-15М — пневмораспределители с одно- и двусторонним электронным управлением, изготавливаемые соответственно со стыковым присоединением к пневмолиниям.
В настоящее время пневмораспределители данного типа НЕ ВЫПУСКАЮТСЯ и заменяются на пневмораспределители В64-...А-03, В64-...А-05, В63-...А (см. таблицу подбора аналогов ниже) с аналогичным присоединением и функциональным назначением.
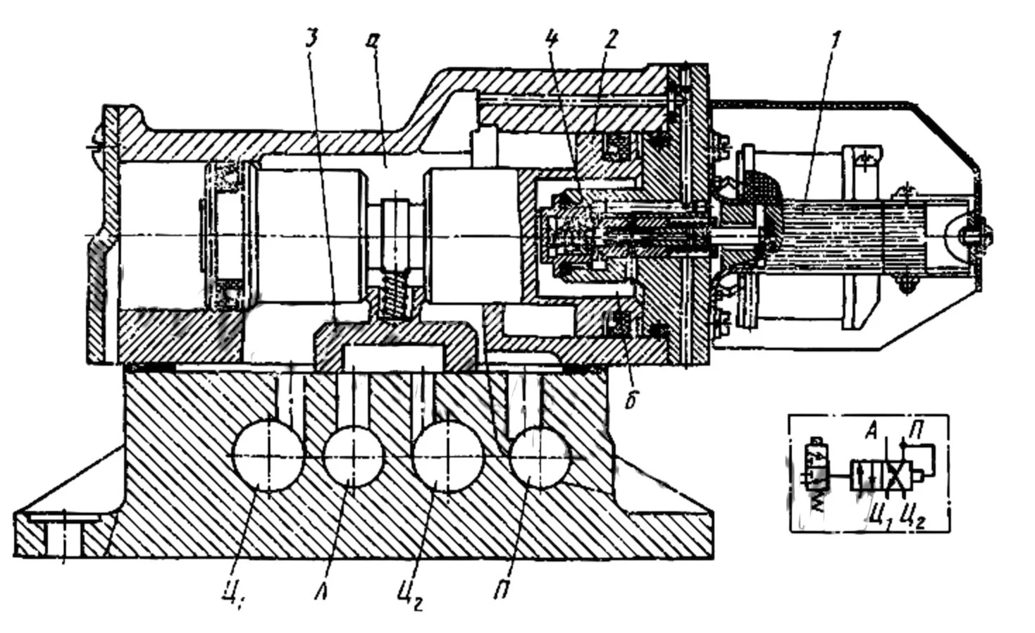
На приведённом ниже рисунке показаны устройство и принцип действия пневмораспределителей БВ64-...М, В64-...М, В63-...М, ПВ64-2...М. Электромагнит 1 изображён в выключенном состоянии, полость b соединяется с атмосферой. Благодаря наличию результирующей силы, направленной вправо, дифференциальный поршень 2 с золотником 3 занимает правое крайнее положение и соединяет отверстия: Ц1 с П, а Ц2 с А. При включении электромагнита 1 якорь втягивается, открывает клапан 4, заполняет полость 6 давлением и закрывает выход в атмосферу. Меняется направление результирующей силы на поршень, который вместе с золотником 3 перемещается влево и соединяет отверстия: Ц1 с А, а Ц2 с П.
Ниже приведена фотография пневмораспределителя В64-23М, снятого с производства, и пневмораспределителя В64-33А-03, который выпускается современными заводами пневматического оборудования.