Регулятор давления ПГ57-62
✓ Сертифицированное оборудование
✓ Гарантия надежной эксплуатации
✓ Контроль качества на каждом этапе
✓ Современное оборудование
✓ Быстрая отгрузка
Технические характеристики:
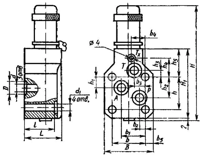
Условный проход: 10 мм
-
Номинальный расход рабочей жидкости: 20 л/мин
Номинальное давление: 1,6 - 10 МПа
-
Масса,кг: 3,2
-

-
Регуляторы давления ПГ57-62, ПГ57-64 предназначены для поддержания редуцированного давления в уравновешивающих цилиндрах вертикально расположенных рабочих органов станков и прочих гидрофицированных машин.
Регуляторы давления типа ПГ57-6 для уравновешивающих цилиндров имеют две дросселирующие кромки на золотнике, поэтому в зависимости от направления потока масла в отводном отверстии они способны работать как в предохранительном, так и в редукционном режимах.
Регуляторы давления ПГ57-6 (см. рисунок ниже) состоят из корпуса 1, двухкромочного переливного золотника 4, вспомогательного клапана 7, крышки 9, пружин 6 и 8, а также регулировочного винта 10. Масло из напорной линии Р подводится в полость 16 и далее через щель между корпусом и кромкой 5 поступает в полость 15, соединённую с уравновешивающим цилиндром линией А. Полость 15 через каналы внутри корпуса соединена с нижними торцовыми полостями 2 и 12 золотника 4 и через малое отверстие 3 в золотнике — с верхней торцовой полостью 11, откуда масло через клапан 7 может поступать в полость 13, соединённую со сливной линией Т.
Таким образом, когда масло поступает в уравновешивающий цилиндр (движение вверх),регулятор функционирует как редукционный клапан непрямого действия, а при движении вниз — как предохранительный клапан непрямого действия, перепускающий масло в бак из линии А через щель между корпусом и кромкой 14 золотника. Так как в обоих режимах давление определяется настройкой одного и того же клапана 7, усилие уравновешивания остаётся практически постоянным (включая случай остановки рабочего органа). Наличие положительного перекрытия по дросселирующим кромкам 5 и 14 исключает возможность потока от линии Р к линии Т.