Реле давления 2С55-51
✓ Сертифицированное оборудование
✓ Гарантия надежной эксплуатации
✓ Контроль качества на каждом этапе
✓ Современное оборудование
✓ Быстрая отгрузка
Основные параметры :
Давление ном., МПа: 6,3
Зона нечувствительности, МПа: 0,3
Масса, кг: 0,43

Реле контроля давления 2С55-51 — электромеханическое устройство, предназначенное для автоматического отключения или включения электрической цепи при достижении заданного давления рабочей жидкости или газа в разных системах.
Назначение
Обеспечивает безопасность и стабильную работу оборудования, предотвращая перегрузку по давлению.
Применение
Реле применяется в гидравлических, пневматических и смазочных системах станков, промышленного оборудования, транспортных средств и других механизмов, где требуется контроль давления рабочей среды.
Условия эксплуатации
Реле 2С55-51 рассчитаны на работу с чистыми минеральными маслами с кинематической вязкостью 4…400 мм²/с при температуре окружающей среды от +1 до +40 °C и рабочей среде от +1 до +65 °C.
Требования к маслу
Номинальная точность фильтрации — 40 мкм, класс чистоты не ниже 14 по ГОСТ 17216-71.
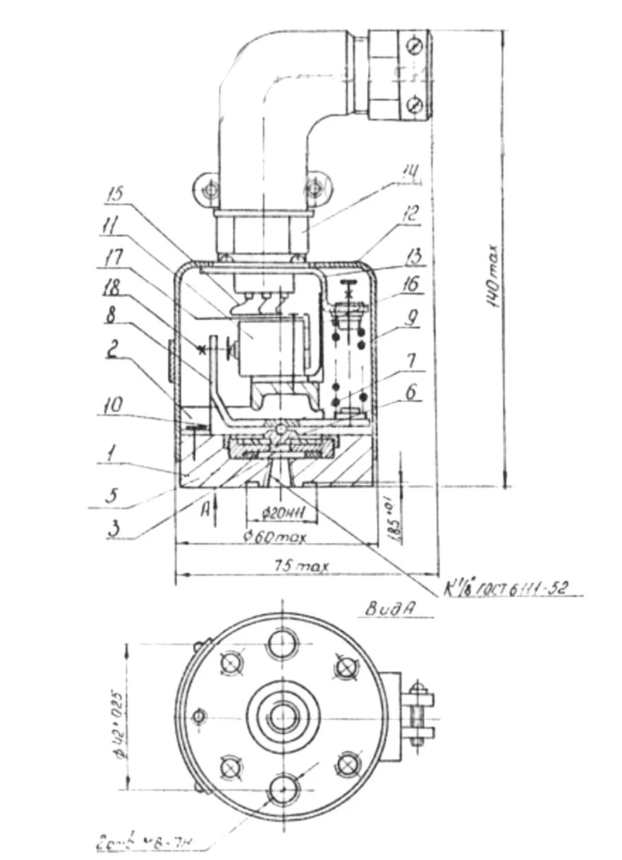
Состав и конструктивные узлы реле 2С55-51
1. Корпус — защищает внутренние механизмы от пыли, влаги и механических повреждений.
2. Крышка — герметично закрывает корпус и несет элементы управления и подключения: микровыключатель, кронштейн для крепления, электрический разъем.
3. Рабочая камера — закрытое пространство внутри корпуса, где давление рабочей среды воздействует на чувствительную мембрану.
4. Мембрана — воспринимает изменение давления.
5. Пята, обойма и шарик — механизмы передачи усилия от мембраны к рычагу, преобразующие давление в механическое перемещение. Точность этих деталей критична для корректной работы.
6. Рычаг — передает усилие от шарика к микровыключателю.
7. Регулируемая пружина — задаёт давление порога срабатывания и позволяет настраивать рабочий диапазон.
8. Гибкая пластина — закрепляет рычаг к корпусу, компенсирует вибрации и механические нагрузки.
9. Микровыключатель — меняет состояние электрической цепи при достижении заданного давления.
10. Кожух — защищает микровыключатель от внешних воздействий.
11. Кронштейн — облегчает монтаж и крепление реле на оборудовании.
12. Штепсельный электроразъём — обеспечивает подключение к электрической цепи.
13. Провода — соединяют микровыключатель с электрической схемой.