Реле давления HED8 OA 15/50 L220
✓ Сертифицированное оборудование
✓ Гарантия надежной эксплуатации
✓ Контроль качества на каждом этапе
✓ Современное оборудование
✓ Быстрая отгрузка
Основные параметры :
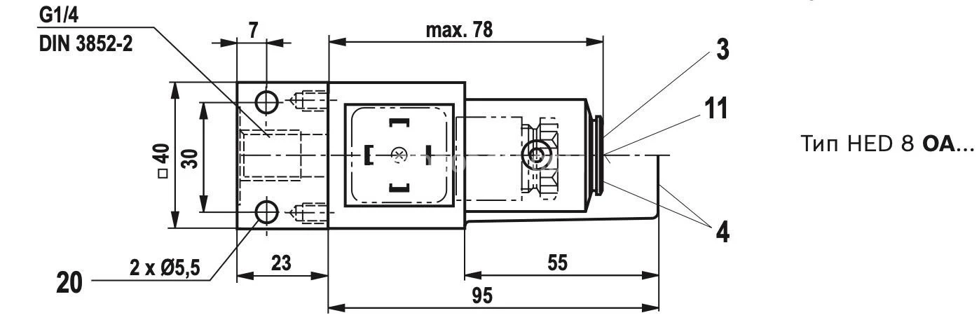
Условный проход , мм: 8
Давление ном., МПа: 50
Масса, кг: 0,8

Реле давления типа HED 8 имеет плунжерную конструкцию. Основными элементами являются корпус (1),золотник (2),пружина (3),элемент настройки (4) и микропереключатель (5). При давлении ниже заданного уровня микропереключатель (5) находится в нажатом состоянии. По мере роста давления через дроссель (7) давление воздействует на торец золотника (2),смещая его и сдавливая пружину (3). В этот момент микропереключатель (5) освобождается и либо замыкает, либо размыкает электрическую цепь в зависимости от своей конфигурации. Опорная шайба (6) пружины имеет упор в обе стороны, что защищает микропереключатель при резком снижении давления и пружину — при превышении допустимого давления. Рекомендации: для увеличения срока службы реле давления следует избегать его установки в зонах вибрации и ограждать от всплесков давления. Размер демпфирирующего дросселя (7),установленного в серии, можно изменять в соответствии с требуемым уровнем демпфирования.